脑子库-商标交易平台-商标转让、商标论坛、商标交易上脑子库
位置:脑子库 > 商标商道 > 商标资讯 > 苹果专利传感器 新专利显示苹果未来笔电键盘可以充当触控板 导航:
苹果专利传感器 新专利显示苹果未来笔电键盘可以充当触控板
发表于 时间:2020/8/5 7:59:58  查看:3972 次  评论:1 次  复制链接

原标题:新专利显示苹果未来笔电键盘可以充当触控板

来源:cnBeta.COM

设计笔记本电脑比较棘手的地方之一在于为键盘和触控板预留的区域之间的关系。一个大键盘可能会让用户使用起来很舒服,但它可能会给制造商留下很少的空间来放置触控板。相反,为较大的触控板留出空间,可能会使键盘离用户更远,这也会影响到笔记本的物理尺寸,因为更小的屏幕意味着下半部分的可用空间更少,这就使得挤入键盘和触控板变得更加困难。

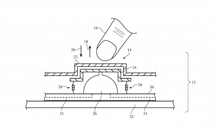
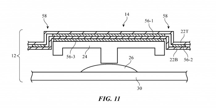
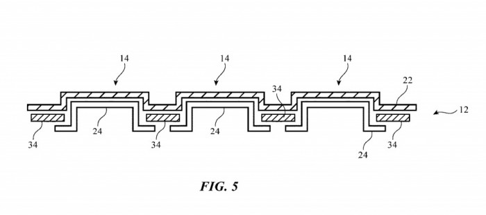
在美国专利和商标局周二授予苹果的一项名为 "带有触摸传感器的键盘 "的专利中,苹果的建议是通过拥有触摸感应键,让键盘有效地成为自己的触控板。苹果公司并不打算让一个具有触摸功能的按键将触摸视为按键,而是仍然采用某种形式的键盘切换机制,确保用户的典型打字体验。在这一解释中,苹果则建议在按键之上增加一个额外的元素来实现触摸板功能。

苹果建议,可以在按键上方应用一层织物,其中包括电容式触摸传感器等触摸传感器电路,以及由聚合物涂层铜线制成的导电线。通过柔性的覆盖物,可以让用户在不受任何干扰的情况下仍然可以按下键盘的按键。通过被织物粘在按键的顶部,有一些多余的部分会从每个按键的侧面垂下,并流向它的邻居,或者从键盘区的边缘流向笔记本外壳的其他部分。实际上,这可以允许使用单个连续的触控板表面,即使它只覆盖键盘区域的一部分。

专利图片和对这一想法的描述似乎表明,无论使用哪种按键开关机制,织物的使用都会有效,因此它不一定需要创建新的开关类型才能发挥作用。在这项专利当中,监控电路将用于检查用户如何与触控板-键盘组合互动,例如确定用户是否有意触控板,或者用户是否只是将手指放在按键上等待打字。在多点手势的情况下,同样的系统也会自动将触控板接触到键盘之上。此外,使用该设置做出力触手势也是可行的,将织物中的力传感器的数据与按键的按压结合起来。

苹果每周都会提交大量的专利申请,但并不能保证专利会出现在未来的产品或服务当中。



 老铁,扫一扫,关注公众号,我拉你进商标行业群,做商标大买卖 
还在等啥快!快!快!

商标人之家
注明:本文由用户发表,如有问题请联系客服处理

给楼主点动力吧,已有 个人对这内容打赏

收藏好内容,方便下次查阅



LEPMISSN商标 第25类 ¥22000出售
可贝趣商标 第12类 ¥27500出售
冠寻商标 第20类 ¥27500出售
君宁商标 第16类 ¥6600出售
蜜润商标 第20类 ¥11000出售

全部评论
52jcz1314
评论于2020/8/5 21:22:09 1F
商标新人
  很不错呢
导航: 发布内容  
作者:990127
级 别 商标新人 注 册 2016-4-24
等 级 1 最 后 2021-2-11
最新商标人新闻列表 更多+
1 iPhone第四财季财报iPhone..
2 消息称华为 Mate 70 全系激活..
3 小米手机排名市场份额 曝小米手机销量连..
4 苹果手机价格折叠屏iPhone易得科..
5 蚂蚁发布EnergyTS能源电力大..
6 小米眼镜智能眼镜 小米眼镜官微上线:智..
7 华为鸿蒙生态新进展:淘宝、中国国航等..
8 华为海外市场 曝华为未来三年将全面反..
9 豪车熊孩子家长事故路面 放炮炸翻多辆..
10 苹果创新高手机厂商 利润都被苹果赚走了..
 
脑子库全站搜索
请输入商标资讯、商标商道、商标交易相应关键词

下载脑子APP

服务电话
0757-88757485
  关于我们
了解脑子库
网站FAQ
联系方式
免责声明
新手入门
注册新用户
常见问题
商标交易说明
会员级别 升级VIP会员

推荐联盟
推广赚积分
积分规则
邀请注册
隐私协议
合作共赢
招募版主
广告投放合作
友情连接
合作与建议