脑子库-商标交易平台-商标转让、商标论坛、商标交易上脑子库
位置:脑子库 > 商标商道 > 商标资讯 > 苹果专利无线充电 苹果新电池背夹专利获批 支持双向无线充电 导航:
苹果专利无线充电 苹果新电池背夹专利获批 支持双向无线充电
发表于 时间:2020/7/21 10:16:51  查看:5480 次  评论:5 次  复制链接

本文来自cnBeta.COM

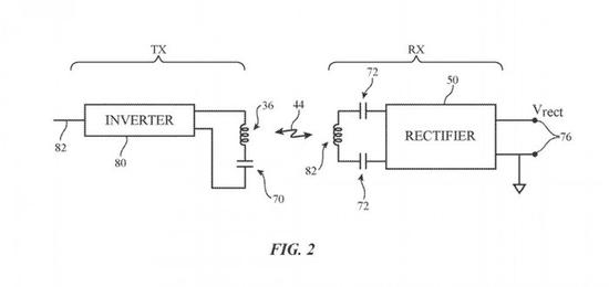
援引外媒 Wccftech 报道,苹果近日获得了一项技术专利[PDF],概述了一种具备双向无线充电功能的电池背夹。在苹果此前申请的专利中,就有计划推出一款完全没有端口的 iPhone 设备。而配合这项技术专利,能够让电池背夹配合没有端口的 iPhone 进行充电操作。

现有的电池背夹主要是通过 Lightning 端口来为设备进行充电的。如果未来苹果计划推出完全没有端口的?iPhone,那么将不得不对保护套的设计做出一些改变,以提供双向无线充电。

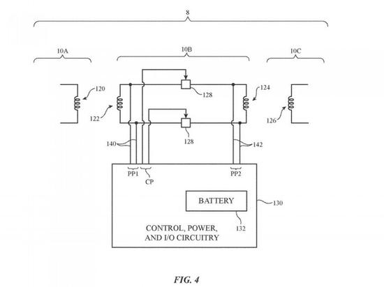
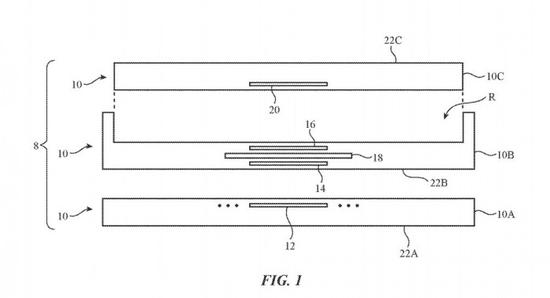
苹果的这项专利是本月早些时候获得的,在专利概述中称该电池背夹具有第一和第二线圈,分别位于电池的相对两侧,并具有在第一和第二线圈之间耦合的开关电路。双线圈将使电池盒能够通过无线充电为自己充电,同时也为设备充电。

在关机状态下,电池背夹会将两个线圈连接起来,这样电流就可以通过第一个线圈传到第二个线圈,从而为设备充电。这意味着,当电池背夹处于开启状态时,设备放在无线充电器上也可以直接充电。因此,电池背夹会先给设备充电,再给自己充电。



 老铁,扫一扫,关注公众号,我拉你进商标行业群,做商标大买卖 
还在等啥快!快!快!

商标人之家
注明:本文由用户发表,如有问题请联系客服处理

给楼主点动力吧,已有 个人对这内容打赏

收藏好内容,方便下次查阅



LEPMISSN商标 第25类 ¥22000出售
可贝趣商标 第12类 ¥27500出售
冠寻商标 第20类 ¥27500出售
君宁商标 第16类 ¥6600出售
蜜润商标 第20类 ¥11000出售

全部评论
chenhe11119
评论于2020/7/23 8:00:14 5F
商标新人
  众里寻他千百度,蓦然回首在这里!
wsast32
评论于2020/7/23 7:42:26 4F
商标新人
  新的开始,新的起点
双响棍到把16
评论于2020/7/22 14:01:24 3F
商标教授
  写的不错,确实有用
ynrqp44
评论于2020/7/21 23:40:23 2F
商标新人
  有些事儿不是自己亲力亲为就能完成的~
王莉莉
评论于2020/7/21 11:22:46 1F
商标新人
  感觉应该很不错啊
导航: 发布内容  
作者:tianww825
级 别 商标新人 注 册 2013-10-29
等 级 1 最 后 2021-11-12
最新商标人新闻列表 更多+
1 iPhone第四财季财报iPhone..
2 消息称华为 Mate 70 全系激活..
3 小米手机排名市场份额 曝小米手机销量连..
4 苹果手机价格折叠屏iPhone易得科..
5 蚂蚁发布EnergyTS能源电力大..
6 小米眼镜智能眼镜 小米眼镜官微上线:智..
7 华为鸿蒙生态新进展:淘宝、中国国航等..
8 华为海外市场 曝华为未来三年将全面反..
9 豪车熊孩子家长事故路面 放炮炸翻多辆..
10 苹果创新高手机厂商 利润都被苹果赚走了..
 
脑子库全站搜索
请输入商标资讯、商标商道、商标交易相应关键词

下载脑子APP

服务电话
0757-88757485
  关于我们
了解脑子库
网站FAQ
联系方式
免责声明
新手入门
注册新用户
常见问题
商标交易说明
会员级别 升级VIP会员

推荐联盟
推广赚积分
积分规则
邀请注册
隐私协议
合作共赢
招募版主
广告投放合作
友情连接
合作与建议